商家介绍
juhost于2023年成立,当前已经2周年,官方带来了香港vps的7折循环优惠,每个人仅限购买2个。香港vps位于香港新界NT机房,BGP网络直连内地,100Mbps带宽,自带一个IPv4和一个IPv6。本文内有香港vps的测评文章,内含测试数据,可供参考。此外,官方还提供200Mbps带宽、不限流量的香港VPS,不过不在本次促销活动范围内。付款方式支持Coingate(多种加密货币)、信用卡、PayPal、支付宝等。
官方网站
8.5折优惠码:newhkshared ,有效期至2025年8月30日,每个用户只能使用2次
配置详情
服务器托管于香港新世界数据中心,默认200Mbps带宽,不限制流量,每个VPS自带一个IPv4和一个IPv6
| 内存 | CPU | SSD | 价格 | 购买 |
| 1G | 2核 | 20G | $3.39/月 | 链接 |
| 2G | 2核 | 30G | $5.09/月 | 链接 |
| 4G | 2核 | 60G | $12.74/月 | 链接 |
测评套餐
CPU:2核
内存:2G
硬盘:SSD系统盘30G
宽带:200Mbps
流量:不限制流量(合理使用)
防御:无防御(如果机房检测到有攻击就会自动封锁,攻击停止一定时间后会自动解除。)
价格:5.09刀/月
基本信息
CPU未知,启用了BBR了,支持ipv6,当前I/O大致68.4MB/s:
speedtest测速:上传303.05M;下载96.27M(下行未达到商家宣传的200M)
磁盘FIO读写测试
全球ping延迟
三网wget测速(服务器10G下行)
移动wget测速:
电信wget测速:
联通wget测速:
三网测速
多线程测速:
单线程测速:
港澳台测速
多线程测速:
单线程测速:
三网去程
移动去程:中国移动CMI-香港ntt
中国联通4837-香港
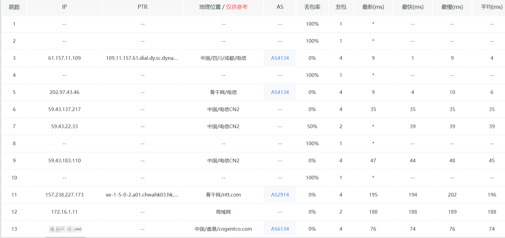
电信去程:中国电信CN2-香港ntt
三网回程
流媒体解锁
GB5/GB6性能测试
总结
三网去程和回程均直连,配备 200Mbps 带宽,价格实惠,
目前 VPS 性能十分强劲,感兴趣的用户可尝试月付体验。
目前 VPS 性能十分强劲,感兴趣的用户可尝试月付体验。
THE END



























- 最新
- 最热
只看作者